Легковой, двухосный, лодочный прицепы, прицеп для снегохода, фаркоп, установка фаркопа.
Фаркопы для легковых автомобилей
Фаркоп — это специальное устройство, устанавливаемое на автомобиль для буксировки прицепов, трейлеров или других транспортных средств. Он состоит из сцепного шара и крепежной системы, которая фиксируется на раме или кузове автомобиля. Фаркопы бывают различных типов и размеров, в зависимости от модели автомобиля и предназначения.
Смарт-коннект для фаркопа — это интеллектуальная система подключения, которая обеспечивает автоматическое распознавание и управление электрическими цепями прицепа. Эта система позволяет интегрировать функции прицепа с бортовой электроникой автомобиля, обеспечивая более безопасное и удобное использование.
Основные функции смарт-коннекта могут включать:
1. **Автоматическое распознавание прицепа**: Система автоматически определяет, когда прицеп подключен, и активирует соответствующие функции.
2. **Управление освещением**: Обеспечивает корректную работу световых сигналов прицепа (стоп-сигналы, поворотники, габаритные огни).
3. **Диагностика неисправностей**: Система может выявлять и сообщать о неисправностях в электрической цепи прицепа.
4. **Интеграция с системами безопасности**: Включает функции, такие как система стабилизации прицепа, которая помогает предотвратить раскачивание прицепа на дороге.
Розетка фаркопа предназначена для подключения электрической системы прицепа к электрической системе автомобиля. Это позволяет передавать сигналы от автомобиля к прицепу, обеспечивая работу световых приборов и других электрических устройств на прицепе. Основные функции розетки фаркопа включают:
1. **Передача световых сигналов**:
- **Габаритные огни**: Обеспечивают видимость прицепа в темное время суток.
- **Стоп-сигналы**: Сигнализируют о торможении автомобиля.
- **Поворотники**: Указывают направление поворота.
- **Противотуманные фонари**: Обеспечивают видимость в условиях плохой видимости.
2. **Питание для дополнительных устройств**:
- Некоторые розетки могут передавать питание для дополнительных устройств на прицепе, таких как внутреннее освещение, холодильники и другие приборы.
3. **Сигналы для систем безопасности**:
- Современные системы могут передавать сигналы для работы систем стабилизации прицепа и других функций безопасности.
Существует несколько стандартов розеток для фаркопов, наиболее распространенные из которых:
- **7-контактная розетка (ISO 1724)**: Используется для легковых автомобилей и небольших прицепов. Обеспечивает основные функции освещения.
- **13-контактная розетка (ISO 11446)**: Используется для более сложных прицепов и караванов. Обеспечивает дополнительные функции, такие как питание для внутренних устройств прицепа.
Правильное подключение и использование розетки фаркопа обеспечивает безопасность и удобство при буксировке прицепа.
Купить фаркоп значит получить возможность свободно перевозить все необходимое для дома и отдыха. На сайте «Арива» есть большой выбор навесного оборудования легковых, коммерческих автомобилей от производителя. Оформляйте онлайн покупки сертифицированных комплектов по низким ценам. Менеджеры ответят на вопросы, организуют доставку заказов по России.
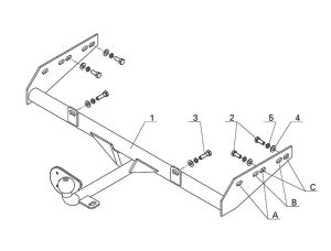
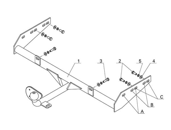
Фаркоп – это приспособление для соединения автомобиля и прицепа. На тягово-сцепное устройство предоставляется сертификат. После установки в специализированном сервисе машина проходит экспертизу ГАИ. Данные об изменениях вносят в авто документацию. Если в конструкции внедорожника есть штатные места для крепления, можно обойтись без регистрации. Минимальная дистанция бампер — центр шара по стандарту равна 65 мм.
Виды фаркопов
По конструкции ТСУ делят на
-
сварные;
-
разборные;
-
быстросъемные.
Надежный сварной фаркоп привлекает недорогой ценой. В разборных конструкциях крюк, опору шара крепят на несколько болтов. Быстросъемные модели можно установить и демонтировать одним движением руки. Фиксаторы имеют вид усеченного конуса или эксцентрика. Разборные, съемные приспособления Great Wall, Isuzu, Renault Logan часто защищают замками, чтобы предотвратить снятие злоумышленниками.
Как выбрать
При сравнении вариантов учитывается
-
вид ТСУ;
-
марка, модель авто;
-
способ крепления;
-
грузоподъемность прицепа;
-
монтажные размеры.
Детали, комплектующие бывают литыми, коваными, штампованными. Некоторые модели имеют регулировку по высоте. Универсальные фаркопы рассчитаны на соединение со сцепками разных диаметров. Для авто из США подходит американский квадрат. Функциональные возможности расширяет встроенная электрика. Европейские, американские блоки розеток оснащены разъемами разной конфигурации. Цинковое, порошковое покрытие это надежная защита от коррозии.
Преимущества «АРИВА»
Компания является официальным дистрибьютором завода, производителя фаркопов в России. Через интернет организована продажа ТСУ для всех марок, моделей автомобилей. Сертифицированные монтажные комплекты соответствуют межгосударственным стандартам качества. Производители гарантируют надежность и безопасность при транспортировке грузов, велосипедов, съемных багажников.
Для оформления заказа на нашем сайте, добавьте выбранный фаркоп в корзину. Оставьте контактный телефон, заполните форму данных для отдела логистики. Наши специалисты свяжутся с вами для уточнения деталей. Мы предлагаем удобный способ оплаты, доставку по всей России. Обеспечьте защиту и комфорт при перевозках с помощью нашего фаркопа.
Адреса магазинов АРИВА
Уфа, З.Космодемьянской, 36 – телефон 8 (347) 258-84-87
Казань, Залесная, 88 – телефон 8 (843) 207-03-08
Н.Челны, Мензелинский тракт, 38/1 – телефон 8 (8552) 92-33-79
Ижевск, Маяковского, 43 – телефон 8 (3412) 27-70-98
Чебоксары, Кугеси, Шоссейная, 27а – телефон 8 (8352) 38-88-37
