Легковой, двухосный, лодочный прицепы, прицеп для снегохода, фаркоп, установка фаркопа.
Фаркопы на Ауди (Audi)
|
|||||
|
|||||
|
|||||
|
|||||
|
|||||
|
|||||
|
|||||
|
|||||
|
|||||
|
|||||
|
|||||
|
|||||
|
|||||
|
|||||
|
|||||
|
|||||
|
|||||
|
|||||
|
|||||
|
Фаркопы для Ауди (Audi)
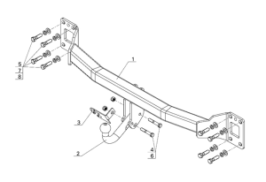
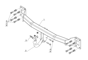
Автомобили «Ауди» — образец стиля, технических достижений и надёжности. Владельцам ТС, у которых часто возникает необходимость перевозки грузов, без установки фирменного тягово-сцепного устройства (ТСУ) не обойтись. Предлагаем купить оригинальный фаркоп на Audi по доступной цене с гарантией. В каталоге компании представлен обширный выбор качественной продукции от проверенных производителей.
Виды фаркопов Ауди и особенности выбора
Прицепные устройства различаются по способу крепления и могут быть:
-
несъёмными;
-
условно-съёмными;
-
быстросъёмными.
Первые — самые бюджетные. Они очень прочные, но не всегда удобны. Быстросъёмный или полуавтоматический вариант превосходит другие виды по характеристикам, но стоит дороже.
Выбрать фаркоп для прицепа на «Ауди» необходимо с учётом совместимости с определённой модификацией ТС. Если для A6 или A7 рекомендован один тип, то на авто Q3, Q5 и Q7 следует подобрать другой. Информация о совместимости указывается производителем в документах.
В нашем ассортименте — ТСУ для любой модели Audi. Поможем подобрать подходящий вариант фаркопа и оформить покупку с доставкой.
